最近苹果又授权了一项和铰链技术相关的新专利。从专利内容看,苹果公司正在研究的这种更为轻薄可靠的铰链技术由一种复合材料制成,未来有可能用于折叠式iPhone、MacBook Pro和其他可穿戴设备等产品。

就苹果公司自身而言,铰链技术并不是其最关心的,不过这一方向也许应该是他们要非常关心的,它或许会带来很多其他的东西。
实际上,苹果在其PowerBook和MacBook Pro两款产品的铰链设计上就非常成功——用户可以将显示屏旋转到设备底座的背面。另外,该公司最近还针对iPad推出了Magic Keyboard,该产品的铰链设计也很不错,既灵活又可靠。
这项公开于今年1 月份的专利,名称为“一种具有复合纤维摩擦铰链的电子设备”。从专利内容看,苹果期望该铰链技术可以用到其所有电子产品上。
“这种电子设备可以有很多个由铰链结构相连的不同部分,”该专利介绍到,“不过,如果设计不好,这种铰链结构可能会非常笨重、强度不高而且容易滑动。”
苹果提出一种新的想法——“使用复合纤维结构”来“减少铰链结构的体积并提高其性能。”
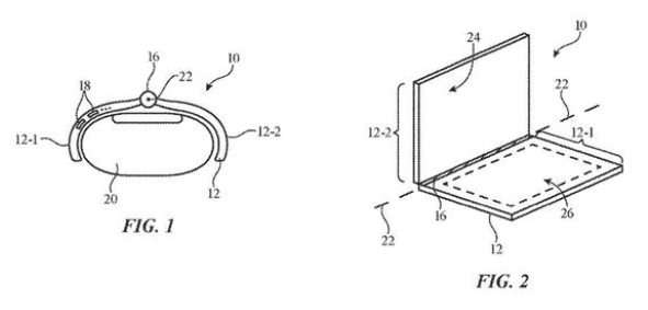
该专利在介绍这种复合结构时主要以智能戒指为潜在应用对象,不过也提到了“手机、平板电脑、笔记本电脑、台式电脑、头戴式设备、手持控制器、手指设备、手表设备、其他可穿戴设备、键盘、计算机鼠标、遥控器、扬声器、附属显示器、附属相机和/或其他电子设备。”
当然,这么描述主要还是为了扩大其权利保护范围,这一点在未来知识产权保护时会有帮助。另外,这也说明这种设计的潜在应用非常多。
接着,该专利还详细介绍了铰链两侧的可能设计情况,例如在一侧设计电路模块以控制另一侧的显示器。
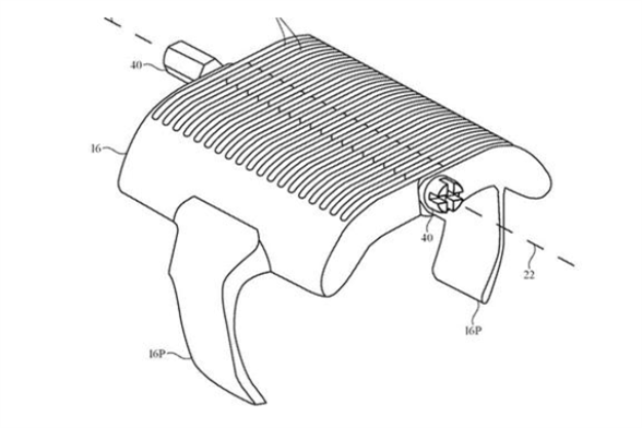
另外,该专利中关于材料和“透明外壳结构”的细节也很多。不过,不管怎样该专利的核心还是铰链设计,它可以由很多重叠的“指状结构”形成。
“这种复合纤维铰链具有两组相互交叉的细长指状结构,”该专利描述道,“而这种细长的指状结构中又有孔结构——可以容纳紧固件的轴。”
“在紧固件被拧紧时,这种细长指装结构会沿着铰链轴挤压在一起,”该专利继续描述说道,“这里的铰链由复合纤维材料制成,例如碳纤维复合材料。”

不过,无论这种细长的指状结构是由什么制成的,它们“都可以嵌入到粘合剂中,例如聚合物粘合剂”,然后“可以通过致动器来调整铰链构件中各部分之间的相对位置”。
当然,除了灵活性之外,该方案还可以针对客户需求做一些定制化设计,比如一款智能戒指。
“当用户戴上该智能戒指时,其内含有的铰链结构部分会有助于夹住用户手指的两侧,”苹果的这篇专利继续描述道,“另外,该铰链还允许其不同部分围绕铰链轴朝向或远离彼此旋转。”
该专利申请有三位发明人,包括多产的Paul X. Wang,他之前在可扩展智能戒指和苹果AR设备等应用领域已经拥有很多项专利。